十大配资平台排名
“新势力车企又双叒暴雷了!”——这样的新闻标题,最近两年频繁冲击着大众眼球。近日,长城汽车董事长魏建军一句“汽车产业有恒大式风险”,像一枚深水炸弹,炸开了行业光鲜表层下的资本暗流。但真相远比想象中更惊心动魄:这早已不是简单的企业经营问题,而是一场以“造车”为名的资本狂欢,一场由地方政府、金融机构、车企共同参演的金融大戏。
01,起底造车新势力:从“PPT造车”到“空手套白狼”
新势力造车故事的开篇往往始于PPT:企业以「新能源转型」「产业升级」等概念包装商业计划,吸引地方政府提供低价甚至免费工业用地。
比如,哪吒汽车的案例揭示了地方政府在造车产业链中的特殊角色。
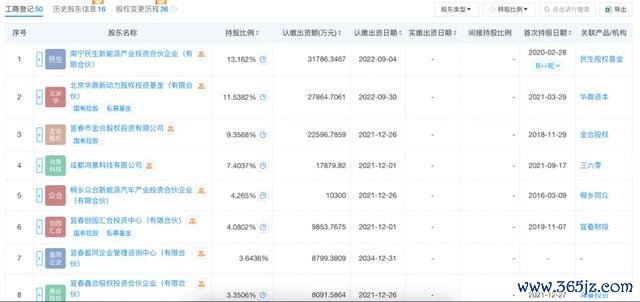
2014年,原奇瑞新能源高管方运舟辞职创业,在浙江桐乡成立合众新能源。这本是一个普通的新能源创业故事,却因一个关键动作改变轨迹——他成功说服桐乡国资入股。这一步,像打开潘多拉魔盒的钥匙,开启了新势力造车的“资本魔术”。
2017年,华夏幸福董事长王文学个人注资16亿,成为第一大股东;2018年王文学退出,宜春国资接盘,投入数亿建厂;2020年南宁国资携25亿入局,换取建厂资格。
这哪里是造车?分明是“土地-资本”双簧!

根据哪吒汽车去年6月提交的招股书,仅包括一致行动安排项目下的相关投资者(宜春、嘉兴)、民生股权(南宁)、华鼎资本(四川)、桐乡市财政局、合肥高新、桐乡科技创业在内,地方国资占比已超50%。
车企靠“造车”概念找地方政府拿低价地,地方政府则拿土地换车企股份,一来二去形成了个奇怪的死循环:车企到处圈地建厂,地方政府也跟着押注车企命运。
地方政府为何甘当“提款机”?
答案藏在地方政府的KPI里:GDP增速、税收指标、就业率。当“新能源造车”遇上“产业升级”的概念,地方政府仿佛看到救命稻草。
新势力车企活着的时候看着还行,一旦破产玩完,倒霉的除了交了钱拿不到车证的车主、被拖欠一屁股货款的供应商,还有背后的地方国资——从一开始低价给地、真金白银入股,到帮忙代建厂房、给融资做隐性担保,国资打着“产业升级”的旗号和车企绑在一起,最后车企一崩盘,地荒在那里贬值,国家的钱也跟着打水漂。
02,金融杠杆炼金术:造车?不,造“钱”
如果说土地游戏是明面上的资本狂欢,那么厂房、设备、供应链的金融操作,才是真正的“暗黑魔法”。
1、厂房:建的不是工厂,是“融资机器”
在浙江金华,恒大汽车超级工厂的运作模式令人咋舌:由第三方企业支付资金建设厂房,车企以土地使用权及未来产能为信用基础,抵押获取银行贷款。
厂房竣工后,抵押融资额可达建设成本的70%-80%,资金优先偿还代建方与前融机构,车企实际现金投入占比不足30%。此类操作中,厂房本质上成为「融资工具」,而非生产载体。
关键是,车企的设备清单里,焊装机器人、总装生产线赫然在列,但所有权却不属于企业——它们通过融资租赁获得。车企每月支付租金,一旦断供,设备将被查封。
除了恒大汽车外,威马、拜腾等新势力也曾采用类似模式,通过代建与设备租赁降低初期投入。这种“轻资产”模式,本质是把经营风险转嫁给整个产业链。
2、供应链金融的层层盘剥:从供应商到4S店的「资金抽水机」
在上游,车企与供应商的结算周期普遍长达6-12个月,且以商业承兑汇票(商票)支付为主。供应商若急需资金,需承担3%-5%的贴现成本,或引入第三方托盘公司——托盘方按票面金额的80%预付货款,到期收取15%-20%的年化服务费。此类操作下,供应商实际融资成本超20%,而车企通过账期差形成「无成本占款」。某零部件企业老板算过账:“给新势力供货,相当于借年化20%的高利贷!”
在下游,4S店玩起“合格证质押”的死亡游戏。
2024年,天津永濠红旗4S店因资金链断裂,导致全国超5000名车主无法获得车辆合格证,无法上牌。该经销商将车辆合格证质押给银行融资,但挪用售车款用于补库存和支付租金,最终无力赎回合格证。
更恶劣的“高开发票+超贷套钱”操作,让购车变成金融骗局。山东淄博某犯罪团伙通过“高开发票+超贷套钱”手段,虚增车辆价值骗取贷款,形成空转套利。

03,资本盛宴背后:谁在收割?谁在流血?
当造车沦为资本游戏,真正的赢家却早已套现离场。
营销费里的猫腻:某车企25%的营销费用,60%流进关联广告公司,最终变成实控人的私人钱包;
供应商的“献金”:某核心部件供应商报价高出市场40%,只因股东藏着车企高管的亲戚;
知识产权泡沫:300项软著估值数亿,通过关联交易注入子公司,瞬间制造账面财富。

编者按:
在这场游戏中,地方政府收获了GDP数字,金融机构赚取了利息,车企实控人实现了财富自由(跑到海外),而留下的烂摊子却要整个行业买单:供应商破产、车主维权、银行坏账、员工失业……
可以说,这场资本游戏的本质,是用「新能源革命」的外衣包装金融套利。地方政府想用造车拉动GDP,金融机构想用产业链做风控背书,投资人想用概念炒高估值,而真正该被重视的技术研发、产品打磨,成了资本盛宴里最没人关心的配角。
当魏建军说出「汽车产业有恒大风险」时,或许他没说透的是:在供应链金融化的漩涡里,任何试图以实业本分安身立命的企业,早已身不由己地被卷入资本游戏的规则重构。当你仍在琢磨如何靠产品力赚得合理利润时,竞争对手却能凭借资本输血的「亏损魔法」,以成本价腰斩的价格倾销——这不是公平的商业竞争,而是一场用金融杠杆扭曲价值体系的生存绞杀。
那作为消费者,我们该如何规避风险?不妨从选择更具确定性的选项开始:购房时优先考量财务稳健的开发商十大配资平台排名,购车时谨慎评估企业的技术沉淀与资金链健康度。相较于追逐概念噱头,选择具备长期技术积累、供应链管理成熟的头部企业(如主流合资品牌、央企背景车企),往往能在产品可靠性与售后保障上更具优势。毕竟,在资本退潮后,真正能穿越周期的,永远是那些专注于技术突破与用户体验的实业者。(文|鹿小凤)
日升策略提示:文章来自网络,不代表本站观点。